
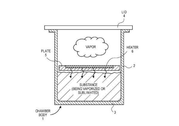
SiliconBeat explored a patent filed by Apple (NASDAQ: AAPL) on July 20th and published on January 26th, suggesting that it may signal the entry of the company into the cannabis industry. To be clear, it’s just speculation, and Apple didn’t respond to the author’s inquiry. The patent filing itself makes no mention of cannabis, but the device, which features a movable heating plate that sits just above the substance and slides downward as the substance is vaporized, would make great sense for cannabis consumers, as it would allow for a consistent vaporization as the heating element remains adjacent to the remaining substance. The patent filing includes five drawings, including Figure 1, which illustrates the process most broadly:

Apple’s potential entry into the cannabis vaporization device industry would capitalize on well-established trends towards extracts and away from combustion. SiliconBeat suggests that the device would work with both flower and extracts, though it seems more suited to oils or solid extracts, as they totally vaporize while flower doesn’t. Troy Dayton of The Arcview Group dismissed the likelihood of the patent being for a cannabis vaporizer, citing federal illegality, but this hasn’t stopped companies like Pax Labs, which raised $47mm in 2015 and is rumored to be raising an even larger amount presently, from selling high-end vaporizers. Will 2017 be the year of the iVape? Is Apple is contemplating entering the cannabis industry? Let us know what you think.
Read Ethan Baron’s “Apple seeks to patent ‘vaporizer’: Is it for weed?”: http://www.siliconbeat.com/2017/01/26/apple-seeks-to-patent-vaporizer-is-it-for-weed/
